Фасадная система Альфа-фиброцемент под Фиброцементные плиты

  • Описание системы
  • Документация к системе
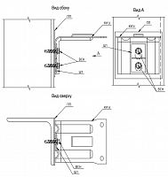
  • Фотографии + чертежи + узлы
  • Комплектующие

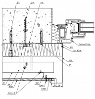
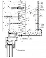
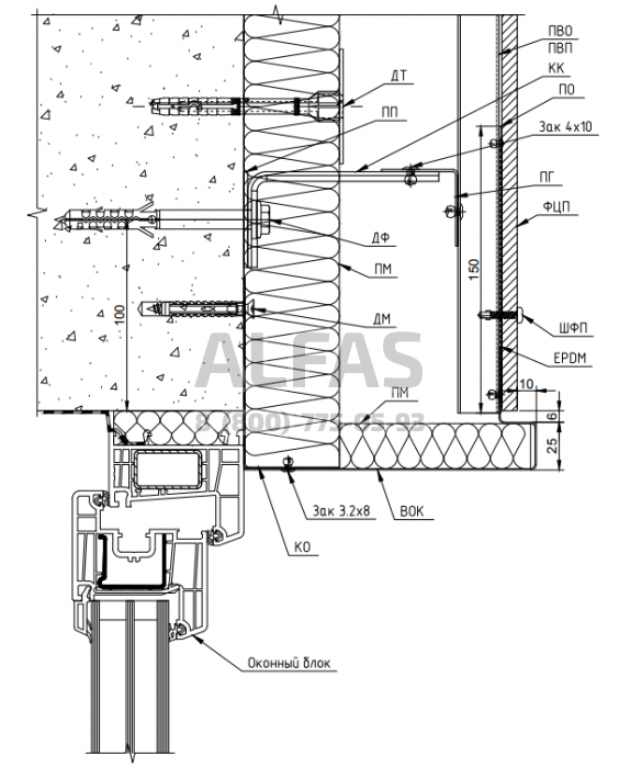
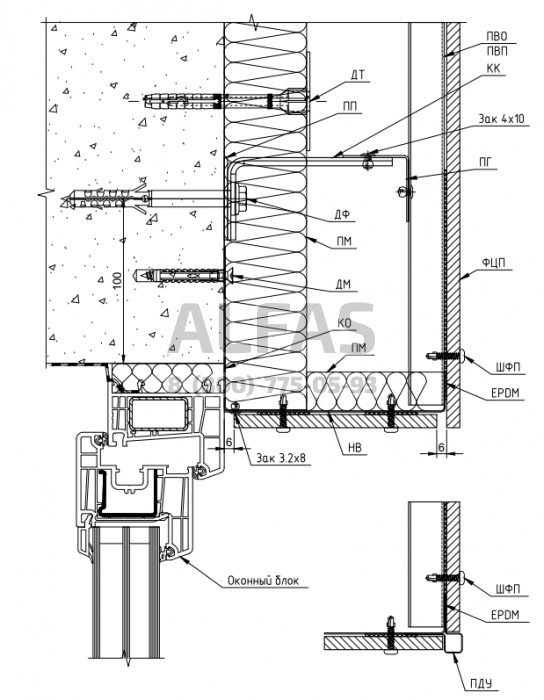
Конструкция навесной фасадной системы с воздушным зазором (далее - НФС) с облицовкой фиброцементными, цементоволокнистыми и асбестоцементными плитами "АЛЬФА-Фиброцемент" предназначена для облицовки фасадов и утепления с наружной стороны вновь строящихся и реконструируемых зданий и сооружений различного назначения всех уровней ответственности, степеней огнестойкости и классов функциональной и конструктивной пожарной опасности в местностях, относящихся к различным ветровым районам с различными геологическими и геофизическими условиями - в соответсвие с подтвержденной расчетами и испытаниями несущей способностью конструкций, а также к районам с различными температурно-климатическими условиями - в соответствие с результатами теплотехнических расчетов и к районам с неагрессивной, слабоагрессивной и среднеагрессивной внешней средой.


Применение НФС на территории Российской Федерации должно соответствовать требованиям следующих нормативных документов:

- СП 112.13330-2012 "Пожарная безопасность зданий и сооружений";
- СП 20.13330.2011 "Нагрузки и воздействия";
- СП 131.13330.2012 "Строительная климатология";
- СП 14.13330.2011 "Строительство в сейсмических районах";
- СП 50.13330.2012 "Тепловая защита зданий";
- СП 28.13330.2012 "Защита строительных конструкций от коррозии";
- СП 16.13330.2011 "Стальные конструкции".
97422c0a4939236df54b1a43e8f248ab
97422c0a4939236df54b1a43e8f248ab
fd286acbfc5fb6cd547d93144662fe34
fd286acbfc5fb6cd547d93144662fe34
31d3b5de85487fd71db41ccfd2284c61
31d3b5de85487fd71db41ccfd2284c61
c21168e91f7f5c371c4f3aded61782dd
c21168e91f7f5c371c4f3aded61782dd
8a46b1af72ccd415025b765c063be59d
8a46b1af72ccd415025b765c063be59d
e63a215e8d6742a6605111b45ebf88b4
e63a215e8d6742a6605111b45ebf88b4
Для вас предусмотрена скидка от базовых цен!
Отправить заявку

Другие фасадные системы под
Фиброцементные плиты

Заказать расчёт сметы. БЕСПЛАТНО!